Принцип действия ультразвуковых расходомеров основан на измерении зависящего от расхода того или иного акустического эффекта, возникающего при прохождении ультразвуковых колебаний через контролируемый поток жидкости или газа.
В последнее время используются две разновидности ультразвуковых расходомеров: расходомеры, основанные на перемещении ультразвуковых колебаний движущейся средой и доплеровский. Наибольшее распространение получила первая группа приборов. В таких расходомерах ультразвуковые колебания, создаваемые пьезоэлементами, направляются по потоку жидкости и против него. Разность времен прохождения ультразвуковыми импульсами расстояния между излучателем и приемником по потоку и против потока пропорциональна скорости потока, т.е. скорость ультразвука относительно стенок трубы зависит от скорости потока.
Основные трудности использования ультразвукового метода связаны с тем, что скорость ультразвука в среде зависит от физико-химических свойств последней: температуры, давления, и она значительно больше скорости среды, так что действительная скорость ультразвука в движущейся среде мало отличается от скорости в неподвижной среде. Разность времен прохождения равна 10-6...10-7 с даже при скоростях потока 10...15 м/с, причем измерять нужно с погрешностью 10-8...10-9 с. Эти обстоятельства обусловливают необходимость применения сложных электронных схем в сочетании с микропроцессорной техникой, обеспечивающих компенсацию влияния перечисленных факторов.
Ультразвуковые расходомеры в последние годы получают все более широкое распространение благодаря следующим положительным чертам:
• значительному динамическому диапазону, достигающему 25—30;
• высокой точности измерения, составляющей ±(1;2) %;
• возможности измерения расхода неэлектропроводных сред (нефтепродукты), загрязненных сред, суспензий;
• широкому диапазону диаметров трубопроводов от 10 мм и выше без ограничений;
• малой инерционности;
• отсутствию потери давления;
• широкому диапазону температур (от -220 до 600 °С) и давлений.
К недостаткам этого метода измерения расхода следует отнести:
• необходимость значительных длин линейных участков до и после преобразователя;
• влияние на показания пузырьков воздуха в потоке;
• необходимость контроля отложений в трубопроводе на его рабочем участке;
• сложность и высокая стоимость приборов, которая при прочих равных условиях в 3—4 раза превышает стоимость тахометрических и электромагнитных расходомеров;
• ограничения по минимальной скорости потока.
Все ультразвуковые расходомеры являются микропроцессорными, на выходе они имеют токовый и импульсный выходные сигналы, цифровой дисплей, интерфейсы RS-232, RS-485, цепь сигнализации, значение суммарного расхода архивируется вместе с указанием нештатных ситуаций. Многие приборы могут измерять расход реверсивного потока.

Рис. 1. Схемы ультразвуковых преобразователей расходомеров:
а — одноканального; б — с отражателями; в — двухканального
Расходомеры по конструктивному исполнению подразделяются на одно- и двухканальные. В одноканальной схеме (рис. 1, а) каждый пьезоэлемент работает попеременно в режиме излучателя и приемника, что обеспечивается системой переключателей. Для увеличения чувствительности ход луча в среде может быть увеличен применением рефлекторов (рис. 1, б). Чувствительность ультразвуковых преобразователей также растет с уменьшением угла между векторами скорости потока и ультразвука. В двухканальной схеме (рис. 1, в) каждый пьезоэлемент работает только в одном режиме — излучателя или приемника. Двухканальные схемы проще одноканальных (нет сложных схем переключения), но точность их меньше, вследствие возможной акустической асимметрии обоих каналов.
Показания ультразвуковых расходомеров зависят от скорости потока, усредненной по ходу луча, а не по диаметру трубы, что является характерной особенностью расходомеров с излучением по потоку. В то же время для определения объемного расхода требуется измерение скорости усредненной по диаметру трубы. Для трубопроводов круглого сечения даже для осесимметричных потоков скорость потока усредненная по ходу луча не равна усредненной по диаметру трубы и соотношение между ними зависит от эпюры скоростей потока. Это обстоятельство является недостатком ультразвуковых расходомеров, определяющим наиболее существенную составляющую методической погрешности.
В ультразвуковых расходомерах SITRANS F фирмы Siemens, благодаря наличию отражателей, ход луча состоит из пяти отрезков, три из которых направлены по хордам, что обеспечивает сканирование профиля потока и измерение средней скорости потока в широком диапазоне измерения его скоростей. При максимальной скорости потока 10 м/с обеспечивается погрешность измерения расхода ±0,5 % в динамическом диапазоне 25 и ±1 % в диапазоне 100. В зависимости от типа местного сопротивления длина линейного участка трубопровода составляет (10...40)D до преобразователя и 5D после него.
По методу определения времени прохождения импульса между излучателем и приемником ультразвуковые расходомеры подразделяются на времяимпульсные, частотные и фазовые.
Во времяимпульсных расходомерах периодически производится измерение коротких импульсов длительностью 0,1...0,2 мкс, по которым затем определяется объемный расход G0. Микропроцессорные расходомеры UFM 005 (ЗАО «Центроприбор», ПО «Промприбор») предназначены для измерения расхода воды и устанавливаются в трубопроводах диаметром 15... 1600 мм. В их состав входит для диаметров до 200 мм первичный преобразователь УПР, свыше 200 мм — пьезопреобразователи для врезки в трубопровод и вычислитель ультразвуковой УВ. Первичный преобразователь УПВ представляет отрезок трубы с двумя врезанными пьезоэлектрическими преобразователями и приваренными по торцам фланцами. При проливном методе поверки расходомеры в области расходов от переходного до верхнего предела при динамическом диапазоне 25 имеют погрешность ±1,5 %, а от переходного до минимального — ±4 %, причем Gmax/Gmin составляет 70—75. Расходомер помимо цифрового индикатора имеет токовый выходной сигнал 0...5 мА, интерфейсы RS-232 и RS-485, в ПЗУ хранится архив среднечасовых и среднесуточных значений количества воды глубиной 5000 ч.
В частотных расходомерах каждый последующий импульс посылается излучателем только после достижения предыдущим импульсом приемного пьезоэлемента.
Разность частот следования импульсов, определяемая дифференциальной схемой, связана со скоростью и объемным расходом.
Показания частотных расходомеров не зависят от скорости распространения ультразвука в неподвижной среде, а следовательно, и от физико-химических свойств и параметров среды. Это является достоинством частотных расходомеров.
В фазовых расходомерах измеряется разность фаз ультразвуковых колебаний частотой, распространяющихся по потоку и против него. Недостаток этих расходомеров — зависимость показаний от изменения скорости звука.
В доплеровских ультразвуковых расходомерах используется отражение ультразвуковых колебаний движущимися частицами потока. Доплеровские расходомеры измеряют местную скорость звука. В трубах малого и среднего диаметров эти расходомеры могут измерять среднюю скорость по диаметру или части площади трубы. В трубах больших диаметров при наличии прямых участков достаточной длины отражатель должен находиться на расстоянии 0,12 D от стенки трубы, где скорость соответствует средней скорости потока. В противном случае необходима индивидуальная градуировка расходомера.

Рис. 2. Схема доплеровского преобразователя
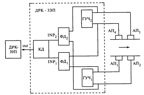
В корреляционных датчиках расхода ДРК доплеровский эффект используется для определения времени прохождения случайными (турбулентными) флуктуациями между двумя смещенными по длине трубы парами ультразвуковых преобразователей. Микропроцессор производит статистическую обработку сигналов, поступивших в приемники ультразвуковых колебаний каждого из сечений. Скорость потока определяется по времени, соответствующем максимуму корреляционной функции, связывающей сигналы, поступившие на оба приемника. На рис. 3 представлена структурная схема датчика расхода корреляционного ДРК ф. «Метран».

Рис. 3. Структурная схема корреляционного доплеровского расходомера
Сигналы ультразвуковой частоты поступают от генераторов ГУЧ1, ГУЧ2 на акустические преобразователи АП1— АП4, сигналы которых вызывают, благодаря доплеровскому эффекту, вторичные колебания, которые накладываются на основные. Фазовые детекторы ФД1, ФД2 и корреляционный дискриминатор КД, управляемый микропроцессором, обеспечивают получение импульсного сигнала, пропорционального расходу. Эти сигналы могут суммироваться и выводиться на цифровой индикатор, подаваться на оконечный преобразователь ДРК-30П или тепловычислитель. Такие расходомеры могут устанавливаться в трубопроводах диаметром от 50 до 4000 мм при скорости среды от 0,1 до 10 м/с, предел относительной погрешности составляет ±1,5; 2%.